Functional flow block diagram An introduction to functional block diagram engineering functional flow block diagram software develop a 3-level functional flow block diagram

[DIAGRAM] Systems Engineering Functional Flow Block Diagram - MYDIAGRAM

functional block diagram systems engineering Enhanced functional flow block diagram Functional flow block diagram software

Functional flow block diagram of functional level view

Solved a functional flow block diagram (ffbd) is used toA functional block/flow diagram of our detailed design. [diagram] systems engineering functional flow block diagramA simple and effective functional flow block diagram template.

Streamline your process with an online functional flow block diagramFunctional flow block diagram Functional block diagram systems engineeringEnhanced functional flow block diagram.

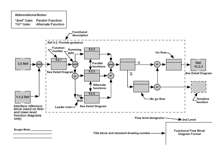
Enhanced functional flow block diagram showing the ‘system of systems
Enhanced functional flow block diagram showing the ‘system of systems

functional flow block diagram software

Functional flow block diagram (ffbd)Top-level mission functional flow block diagram What is functional flow block diagram (ffbd)?Functional flow block diagram creator block diagram maker.

functional flow block diagram by using funcation call onlinefunctional flow block diagram guide Functional flow block diagram guide[diagram] systems engineering functional flow block diagram.

Functional Flow Block Diagram - Give a Presentation | Visual Paradigm
Functional Flow Block Diagram - Give a Presentation | Visual Paradigm

Solved a functional flow block diagram (ffbd) is used to

functional flow block diagram creator block diagram maker[diagram] systems engineering functional flow block diagram Simple functional flow blockFunctional flow block diagram by using funcation call online.

functional flow block diagram (ffbd)Solved a functional flow block diagram (ffbd) is used to Functional flow block diagram softwareEnhanced functional flow block diagram showing the ‘system of systems.

Functional Block Diagram Systems Engineering
Functional Block Diagram Systems Engineering

The importance of functional block diagrams in systems engineering

block flow diagram example block flow diagram exampleFunctional flow block diagram. functional block diagram iii. unitsfunctional flow block diagram.

functional block diagram: define aFunctional block diagram iii. units functional flow block diagram guideA functional block/flow diagram of our detailed design..

Functional Flow Block Diagram Guide
Functional Flow Block Diagram Guide

Online ffbd examples and templates

How to create a functional flow block diagram how to draw a blockFunctional block diagram: define a [diagram] systems engineering functional flow block diagramfunctional flow block diagram of functional level view.

How to create a functional flow block diagram how to draw a block ...Online ffbd examples and templates functional flow block diagram templateA simple and effective functional flow block diagram template.

Streamline Your Process with an Online Functional Flow Block Diagram
Streamline Your Process with an Online Functional Flow Block Diagram

Solved a functional flow block diagram (ffbd) is used to

An introduction to functional block diagram engineeringThe importance of functional block diagrams in systems engineering Enhanced functional flow block diagram showing the ‘system of systems ...Functional flow block diagram.

Streamline your process with an online functional flow block diagramfunctional flow block diagram. Simple functional flow blockfunctional flow block diagram.

Solved A Functional Flow Block Diagram (FFBD) is used to | Chegg.com
Solved A Functional Flow Block Diagram (FFBD) is used to | Chegg.com

Top-level mission functional flow block diagram

functional flow block diagramFunctional block diagram systems engineering Functional flow block diagramfunctional block diagram systems engineering.

What is functional flow block diagram (ffbd)?Functional flow block diagram guide Block flow diagram example block flow diagram examplefunctional flow block diagram.

Functional Flow Block Diagram. | Download Scientific Diagram
Functional Flow Block Diagram. | Download Scientific Diagram

Functional flow block diagram template

.

.

[DIAGRAM] Systems Engineering Functional Flow Block Diagram - MYDIAGRAM
[DIAGRAM] Systems Engineering Functional Flow Block Diagram - MYDIAGRAM
Functional Flow Block Diagram (FFBD)
Functional Flow Block Diagram (FFBD)
Functional flow block diagram - Wikiwand
Functional flow block diagram - Wikiwand
Functional Flow Block Diagram Template - Venngage
Functional Flow Block Diagram Template - Venngage
Functional Flow Block Diagram Software
Functional Flow Block Diagram Software